阿里云备案
刚申请了阿里云的半年免费试用,但网站还未备案。尝试将域名解析到阿里云,但没几分钟,访问就被阿里云拦截了。
访问自己网站是,显示未备案
只好老实去备案了。
首先登陆阿里云备案系统,https://beian.gein.cn/account/login.htm?callback=http://aliyun.gein.cn
需要邮箱注册。
注册后,填写备案资料,需要阿里云服务器的备案ID,在服务器账号申请ID,但因为我是使用的试用半年0M带宽,没有公网Ip,无法申请。后来,发现可以先0.2元升级下,申请一天的公网Ip,这样就有了备案ID。
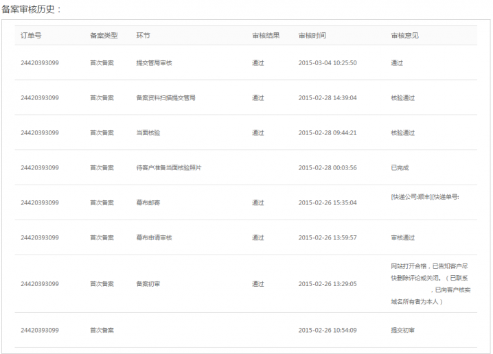
后续就是上传身份证证件信息,提交初审。
初审,阿里云客服打电话询问一些基本情况,我的网站是个人博客,客服说不能有评论功能。让删掉评论功能或者关闭网站。所以我关闭了自己网站。
初审通过,需要去指定照相点拍照,或者申请幕布自己拍照。申请幕布免费。考虑后续可能还可以给朋友用,我选择申请幕布,顺丰快递,隔天就到了,还是挺快的。大概是一块1平米的蓝色幕布。
使用幕布作为背景,拍照上传。上传后,阿里云再审核,审核通过后,资料提交给管局。
管局审核会在20天内完成。我还挺幸运,6天就审核完毕,而且一次通过。
同时阿里云有备案多久送多久的优惠。也就是备案花费了6天时间。阿里云会赠送6天的服务器使用时间。
参考网站www.dodobook.net:[记录一下阿里云网站备案的过程](http://www.dodobook.net/linux/745 “记录一下阿里云网站备案的过程”)
本博客所有文章除特别声明外,均采用 CC BY-NC-SA 4.0 许可协议。转载请注明来自 螃蟹壳!
